4. 参数配置
方案参数共包括:相位、跟随相位、方案、计划、日期、通道、通道冲突、检测器、行人检测器、优先、自适应参数、车道灯控制、手动面板、车道表和阶段表等参数。
点击页面左侧栏对应的参数图标,可选择需要添加或修改的参数配置。

界面右上角为参数操作栏,分为参数选择、参数上载、下载、模板操作、复制参数、读取参数,可以进行方案的上载和下载、复制方案参数及方案的导入和导出等操作。

参数选择:可以对设备的指定参数进行上载/下载,可选择所有参数,也可单独选择相位/跟随相位/方案/计划/日期中的一项参数。如修改某一项参数,建议选择对应的参数,进行下发,若选择“全部”进行下发,可能导致无法下发。
参数上载:点击“上载”按钮,可将前端信号机的当前运行数据上传至配置界面中,即可查看当前使用的信号配时相关数据。
参数下载:点击“下载”按钮,可将当前配置界面中的信号配置相关数据发送至前端信号机中,使信号机按照当前配置界面中的信号配时方案运行。
模板操作:点击“模板操作”右侧的下拉箭头,主要分为三个选项,包括:模板参数生成、从文件导入和导出为文件。
(1) 模板参数生成
选择“模板参数生成”,可快速生成参数配置,需要设置模板类型、相位、方案、计划和日期。
模板类型可选择十字路口、丁字路口、行人过街路口、匝道路口和自定义路口,选择对应的模板类型后,界面会生成对应的配置参数,如有需要可再进行修改,最后点击“下载”,可下发到信号机中运行。
1) 十字路口
如路口形状选择“十字路口”,可进一步选择路口配置,分为:十字路口四相位和十字路口八相位。

2) 丁字路口
如路口形状选择“丁字路口”,可进一步选择路口配置,分为:丁字路口东向三相位、丁字路口南向三相位、丁字路口西向三相位和丁字路口北向三相位。

3) 行人过街路口
如路口形状选择“行人过街路口”,可进一步选择路口配置,分为:行人过街路口东西向二相位和行人过街路口南北向二相位。

4) 匝道路口
如路口形状选择“匝道路口”,可进一步选择路口配置,分为:匝道路口东向二相位、匝道路口南向二相位、匝道路口西向二相位和匝道路口北向二相位。

模板类型配置完成,可继续配置相位(绿闪、黄灯、红灯清空)、方案(数量、绿信比)、计划和日期等参数。所有参数配置完毕,点击“确定”按钮,再点击上方的“下载”即可。
如需通过配置文件修改相关参数,可先选择“导出为文件”,设备的配置文件则以json格式导出,参数修改完毕,点击“从文件导入”,可将修改后的json文件导入至平台中,点击“下载”,可将配置方案下发至信号机中运行。
点击“文件导入”可以将外部文件导入到该设备中,使该设备能够快速导入文件中的信号配时方案。点击“文件导出”可将该设备的信号配时方案导出成文件模式。
复制参数:可复制该信号配时方案的相应参数。
读取参数:可读取复制的信号配时方案,将参数载入到该设备中,点击“下载”,可将配置方案下发至信号机中运行。
4.1 相位
相位是指在一个周期内,交叉口上某一股或几股交通流所获得的通行权。
相位信息主要包括:相位ID、车道方向、行人方向、控制类型、环、并发相位、最小绿、最大绿1、最大绿2、延长绿、绿闪、黄灯、红灯清空、红黄时间、行人过街、行人清空、绿脉冲倒计时、红脉冲倒计时、车辆排队阈值、行人等待阈值、脉冲屏障和关联相位等信息。可以对其进行添加、修改、复制和删除等操作。

相位ID:交通信号控制中每个相位的唯一标识和描述,便于用户区分相位。
环:由两个或两个以上的冲突相位组成,相位的排列方式可以保证他们按规定的顺序出现。
并发相位:不同环中可以同时执行,不会导致冲突交通流的相位。同一个环中的相位不可以并发。
最小绿:在感应控制下,相位一次放行所执行绿灯的最小时间。它保证了停车线与车辆检测线圈之间车辆的绿灯时间,同时在这段时间内判断是否有车辆通过车辆检测线圈而继续放行绿灯,默认设置为6秒。
最大绿1:在感应控制下,相位一次放行所相位执行绿灯的最大时间1。车辆通过感应线圈后,相位的绿灯放行时间随之变长,最大绿是绿灯放行时间的最大限制,默认设置为120秒。
最大绿2:在感应控制下,相位一次放行所相位执行绿灯的最大时间2。一般情况下,相位的最大绿灯时间使用最大绿1,如果连续两个周期都达到了最大绿1,第三个周期就用最大绿2,默认设置为120秒。
延长绿:在感应控制下,有车辆通过感应线圈,相位绿灯时间延长一次的时间。单位为:秒,默认设置为3秒。
绿闪:相位执行绿灯结束转向执行黄灯前,绿灯的闪烁时间,单位为:秒,默认设置为3秒。
黄灯:机动车相位绿灯结束转向红灯信号的黄灯时间,单位为:秒,默认设置为3秒。
红灯清空:机动车相位放行结束,在同环的下一个相位放行之前,放行的红灯时间。单位为:秒,默认设置为2秒。
行人过街:行人相位绿灯时间,默认设置为0秒。
行人清空:行人相位绿闪时间。行人放行和行人清空时间之和不能大于相位的绿信比时间,默认设置为5秒。
绿脉冲倒计时:相位绿灯时,脉冲模式倒计时显示时间,默认设置为9秒。
红脉冲倒计时:相位红灯时,脉冲模式倒计时显示时间,默认设置为9秒。
车辆排队阈值:车辆排队时间的临界值,默认设置为30秒。
行人等待阈值:行人等待时间的临界值,默认设置为30秒。
脉冲屏障:可以选择发送行人和机动车脉冲、机动车脉冲、行人脉冲和关闭行人和机动车脉冲这四种形式。该项配置完毕,才会向信号灯具发送脉冲并显示倒计时。
车道方向可根据具体路口渠化及方案需求进行设定,选择一条或多条车道方向。

点击右上角“拓展车道方向”进行切换,也可根据路口形状配置拓展车道方向。

行人方向可根据具体路口渠化及方案需求进行设定,选择行人过街、行人二次过街、斜向行人过街和路段行人过街四种类型中的具体场景。

点击右上角“拓展行人方向”进行切换,也可根据路口形状配置拓展行人方向。

控制类型可以选择机动车主路、机动车支路、行人、公交专用、BRT专用、有轨电车专用、非机动车专用和虚相位。

4.2 跟随相位
跟随相位是与母相位放行状态相同的信号。它的放行受到母相位和修正相位的制约。同时,它不受相位屏障的约束,可跨越相位屏障放行。
跟随相位主要包括:相位ID、车道方向、行人方向、描述、母相位、脉冲屏蔽、早结束时间和晚启动时间等信息。可以对其进行添加、修改、复制和删除等信息。

母相位:跟随相位所跟随放行的机动车相位。母相位可设置多个,当两个母相位连续放行时,在前一个母相位的绿信比时间内跟随相位持续放绿灯并跟随后一个继续放行。
脉冲屏障:可以选择发送行人及机动车脉冲、机动车脉冲、行人脉冲和关闭行人及机动车脉冲这四种形式。
4.3 方案
方案指通过选择不同的主相位配置路口使用的方案,并配置每个相位的放行时间和放行顺序。
方案信息主要包括:方案ID、描述、相位差、周期、方案等信息。可以选择环配置或者阶段配置,默认显示环配置方案。可以对其进行添加、修改和删除等操作。

相位差:协调控制中,协调交叉口与指定的参照交叉口相位或周期的起始时间之差,或者协调交叉口相位或周期的起始时间与规定的基准时间的时间差。
周期:信号灯色按设定的信号相位顺序变化一个循环的完整过程。
点击左侧
图标,可查看和修改环配置,包括:环配置、扩展参数配置、跟随相位和方案优化。
(1) 环配置
点击“环配置”,可设置各相位的绿信比(单位:秒,默认设置为30秒)和模式(默认设置为无,可选择“其他/无/最小绿请求/最大绿请求/行人请求/最大绿和行人请求/忽略相位/关断相位”)

(2) 扩展参数配置
点击“扩展参数配置”,可设置各相位的属性(协调相位/关键相位/固定相位,可多选)、晚启动时间和早结束时间。

(3) 跟随相位
点击“跟随相位”,可设置方案特殊配置(禁用早结束功能/禁用晚启动功能,可多选)。

(4) 方案优化
点击“方案优化”,可设置控制目标(最小延误/均衡度最优)、优化周期,输入各相位的车道平均流量和车道规划饱和流量,点击“优化”按钮,此时生成优化后的环配置方案。

点击右上方的“周期等比例切换”,可将图形中各方案的周期长度调整一致。

点击“环转阶段”,可将环配置中设置的参数转换成阶段配置的参数。

4.4 计划
计划表用于配置一个自然日中信号机的控制方式和控制方案,定义信号机在一天的不同时间段对应执行不同的操作。
计划信息主要包括:计划时间、控制方式、方案和周期等信息。可以对其进行添加、修改和删除等操作。
点击上方
图标,可添加多个计划。

控制方式包括:定周期控制、无电缆控制、单点感应控制、黄闪、全红、关灯、自适应控制、行人过街控制和感应式行人过街控制。
定周期控制:按照预设的方案以固定周期进行相位信号输出。
无电缆控制:道路交通信号控制机之间没有通信链路,根据时钟同步,通过设定相位差来实现交叉口交通信号协调的控制方式。
单点感应控制:道路交通信号控制机根据检测器测得的交通流信息来调节信号显示时间的控制方式。
黄闪:所有信号灯组的黄灯信号均以固定频率闪烁的用于警示的交通信号控制方式。
全红:所有信号灯组的红灯信号全部亮起用于警示各个方向所有车辆均不可进入路口的交通信号控制方式。
关灯:所有信号灯组的信号灯全灭的交通信号控制方式。
自适应控制:根据交通流信息实时自动调整信号控制参数的控制方式。
行人过街控制:采用行人过街按钮或感应式行人过街信号控制系统对路口行人进行过街控制的交通信号控制方式。
感应式行人过街控制:根据检测器收集到的行人信息,计算每个周期过街行人的数量,进而确定行人过街所需最佳时间。
方案的选择可以根据设计需求选择相应的方案号。
4.5 日期
日期是指信号机在不同日期执行不同的日计划。
日期信息主要包括:描述、月份、周、日期和计划号等信息。可以对其进行添加、修改和删除等操作。

月份:表示在勾选的月份执行对应的计划表。
周:表示在勾选的工作日/周末执行对应的计划表,包含于所有的星期内。
日期:表示在勾选的日期执行对应的计划表,该日期包含于全部的月份内。
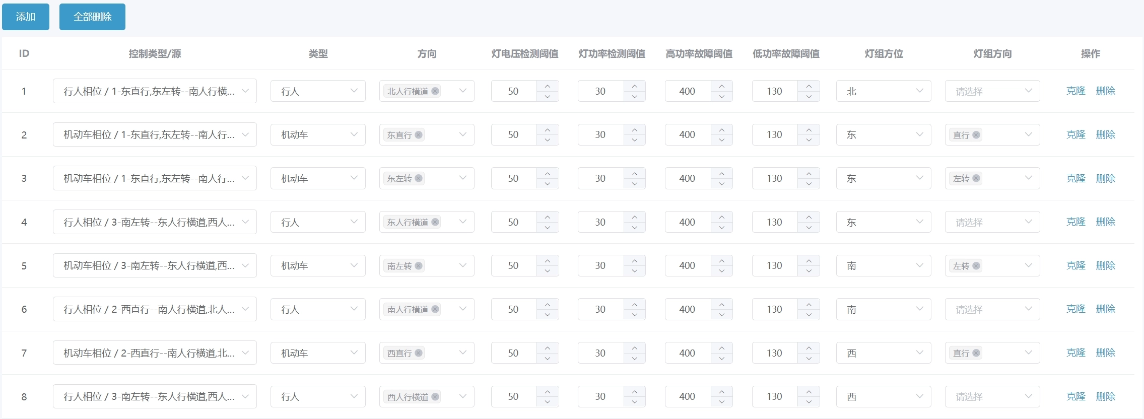
4.6 通道
通道是指和灯组一一对应的用于控制灯组输出的单元。
通道配置是将信号灯组与灯控板上的通道以及相位进行关联配置。
通道信息主要包括:ID、控制类型/源、类型、方向、灯电压检测阈值、灯功率检测阈值、高功率故障阈值、低功率故障阈值、灯杆方位和灯盘方向等。还可以对其进行添加、修改、复制和删除等操作。

ID:通道号,对应接线排的通道序号。
控制类型:通道控制源的输出类型选择,分为机动车相位、行人相位、跟随相位、行人跟随相位、车道灯、不启用。
控制源:通道灯色变换对应的相位。
类型:放行对象类型,分为:机动车、非机动车、行人、公交车和其他。
灯电压检测阈值:正常持续监测情况下,灯组中各通道输出电压的门限阈值。默认设为50,单位是v。
灯功率检测阈值:正常持续监测情况下,灯组中各通道输出功率的门限阈值。默认设为30,单位是0.1w。
高功率故障阈值:达到正常持续监测的灯功率的上限的xx%触发报警,默认设为400,表示上限的四倍。
低功率故障阈值:达到正常持续监测的灯功率的下限的1/xx%触发报警,130代表下限的100/130。
灯杆方位:信号灯组对应的位置,分为:北、东北、东、东南、南、西南、西、西北。
灯组方向:左转、直行、右转、掉头、圆盘。
4.7 通道冲突
通道冲突是指不应同时启亮的绿灯信号同时启亮。可以手动设置存在绿冲突可能的方框,使其为红色,点击“下载”,可下发对应设置。
点击右下角“默认”按钮,显示默认的通道冲突关系图,可手动设置取消默认的通道冲突方框,也可点击“清空”按钮,进行手动配置。

4.8 检测器
检测器配置,用于关联前端流量检测设备,配置各方向流量数据与方案主相位的对应关系。
检测器信息主要包括:ID、描述、类型、请求相位、关联车道、饱和流量、无响应时间、最大持续时间、最大车辆数、失败时间、使能、模式、存在时间(秒)、灵敏度、采样时间(微秒)、进入阈值、离开阈值、进入滤波和离开滤波,一般需要设置的参数包括:类型、请求相位、关联车道和饱和流量。还可以对其进行添加、修改、复制和删除等操作。

检测器类型可以选择线圈和智慧路口终端两种。根据检测器所在车道转向确定请求相位,检测器类型统一设置为智慧路口终端,依次添加所有检测器。
4.9 行人检测器
行人检测器是检测行人在检测域内的存在或通过情况。
行人检测器信息主要包括:ID、描述、检测器类型、检测器区域、请求源、无响应时间(分钟)、最大持续时间(分钟)、最大请求数(个/分钟)等设置,可以对其进行添加、删除等操作。

检测器类型分为:线圈、雷达、视频。
检测器区域分为:默认、等待区域、过街区域。
请求源:行人检测器对应的机动车相位,当该检测器检测到行人通过的信号时,对应的请求相位将做出反应。
无响应时间(分钟):检测器在该段时间内没有检测到行人通过,表示该检测器出现故障,该值为零时,该项功能不启用。单位:分钟,默认设置为30分钟。
最大持续时间(分钟):检测器在该段时间内一直检测到行人通过,表示该检测器出现故障。该值为零时,该项功能不启用。单位:分钟。
最大请求数(个/分钟):检测器不确定计数诊断参数。如果一个活动检测器出现感应过强,诊断设备就认为存在故障,该检测器被认为是失败的。若将这个对象值设为零,将关闭对该检测器的诊断,单位:个/分钟。
4.10 优先
优先是指优先通行权的控制方式。一般适用于载客量较大的公共交通车辆,重要贵宾的车辆,以及执行任务的救护车、消防车、工程抢险车、警备车等特种车辆。
优先主要包括:ID、优先等级、检测信号源、优先类型、描述、延迟时间、延长时间、优先相位等信息。可以对其进行添加、修改和删除等操作。
优先类型包括:常规优先和紧急优先。可以选择是否开启优先。

4.11 自适应参数
自适应参数指根据运行方案设定方案中相应的参数。
自适应参数信息主要有:方案、绿初损失时间(秒)、黄末损失时间(秒)、饱和流量(辆/小时)、静态权重、周期调整因子等参数。可以对其进行添加、修改和删除等操作。

方案:配置方案的编号。
绿初损失时间:每个相位绿灯初期,车辆因启动而实际并未用于通车的一段绿灯时间,为绿初损失时间。单位:秒,默认设置为3秒。
黄末损失时间:黄灯初期尚可有车辆通行,而黄灯后期已不能通车,黄灯末尾的这一段时间,为黄灯末损失时间。单位:秒,默认设置为1秒。
饱和流量:单位时间内车辆通过交叉口停车线的最大流量,即排队车辆加速到正常行驶速度时,单位时间内通过停车线的稳定车流量。单位:辆/小时,默认设置为1600辆/小时。
点击“>”按钮,可以查看和修改当前方案的环信息。

4.12 车道灯控制
通过设置相关参数,包括:开始时间、结束时间、过渡绿闪时间(单位:秒,默认设置为3秒)和过渡黄灯时间(单位:秒,默认设置为2秒),可对车道灯进行锁定控制。并可查看通道状态,包括:通道,通道信息和状态。

4.13 手动面板
手动面板指在该界面中可以通过手动调节信号机的信号相位参数配置。
手动面板中可以对手动控制时的“绿灯持续时间”、“方向锁定绿闪”、“方向锁定黄灯”、“方向锁定全红”、“方向锁定最小绿”等参数的配置,单位均为秒,选择是否启用“忽略步进最小绿”。也可以选择图中按钮,配置各按钮和通道的对应关系以及下发设备生效使用。通道信息可选择“清空”或“状态重置”。

4.14 车道表
可查看车道相关信息,包括:车道序号、车道类型、方位、方向、进出口和全息车道ID。
4.15 阶段表
可查看阶段相关信息,包括:阶段序号、名称、绿灯时间(s)、红黄时间(s)、黄灯时间(s)、全红时间(s)和放行相位序号。
4.16 配置案例
4.16.1 十字路口-两相位
具体配置如下:
(1) 相位
选择具体的车道方向和行人方向。

(2) 方案
添加一个方案,可修改各相位的绿信比。

(3) 计划
添加一个计划,确定开始时间和控制方式。

(4) 日期
添加日期,确定执行计划的日期。

(5) 通道
根据路口渠化,添加对应的通道,主要配置以下参数:控制类型/源、类型、方向、灯组方位、灯组方向。
添加日期,确定执行计划的日期。

(6) 检测器
针对各条车道,添加对应的检测器,主要配置以下参数:类型、请求相位和饱和流量。(需要根据现场渠化进行对应的配置,如无需要可不配置)

(7) 手动面板
点击“生成默认设置”按钮,并“保存”,最终点击“下载”按钮,下发生效,若下载失败,表示存在部分通道存在冲突的情况,需要修改对应的通道状态,修改完毕,点击“下载”。

(8) 总览
按照以上步骤完成配置并下载,最终生成十字路口两相位的方案,总览界面如下:

4.16.2 丁字路口
具体配置如下:
(1)相位
选择具体的车道方向和行人方向。

(2)方案
添加一个方案,可修改各相位的绿信比。

(3)计划
添加一个计划,确定开始时间和控制方式。

(4)日期
添加日期,确定执行计划的日期。

(5)通道
根据路口渠化,添加对应的通道,主要配置以下参数:控制类型/源、类型、方向、灯组方位、灯组方向。

(6)检测器
针对各条车道,添加对应的检测器,主要配置以下参数:类型、请求相位和饱和流量。(需要根据现场渠化进行对应的配置,如无需要可不配置)

(7)手动面板
点击“生成默认设置”按钮,并“保存”,最终点击“下载”按钮,下发生效,若下载失败,表示存在部分通道存在冲突的情况,需要修改对应的通道状态,修改完毕,点击“下载”。

(8)总览
按照以上步骤完成配置并下载,最终生成丁字路口的方案,总览界面如下:

4.16.3 匝道
具体配置如下:
(1)相位
选择具体的车道方向和行人方向。

(2)方案
添加一个方案,可修改各相位的绿信比。

(3)计划
添加一个计划,确定开始时间和控制方式。

(4)日期
添加日期,确定执行计划的日期。

(5)通道
根据路口渠化,添加对应的通道,主要配置以下参数:控制类型/源、类型、方向、灯组方位、灯组方向。

(6)检测器
根据路口渠化,添加对应的通道,主要配置以下参数:控制类型/源、类型、方向、灯组方位、灯组方向。(需要根据现场渠化进行对应的配置,如无需要可不配置)

(7)手动面板
点击“生成默认设置”按钮,并“保存”,最终点击“下载”按钮,下发生效,若下载失败,表示存在部分通道存在冲突的情况,需要修改对应的通道状态,修改完毕,点击“下载”。

(8)总览
按照以上步骤完成配置并下载,最终生成匝道的方案,总览界面如下:

4.16.4 十字路口-单环四相位
具体配置如下:
(1)相位
选择具体的车道方向和行人方向。

(2)方案
添加一个方案,可修改各相位的绿信比。

(3)计划
添加一个计划,确定开始时间和控制方式。

(4)日期
添加日期,确定执行计划的日期。

(5)通道
根据路口渠化,添加对应的通道,主要配置以下参数:控制类型/源、类型、方向、灯组方位、灯组方向。

(6)检测器
针对各条车道,添加对应的检测器,主要配置以下参数:类型、请求相位和饱和流量。(需要根据现场渠化进行对应的配置,如无需要可不配置)

(7)手动面板
点击“生成默认设置”按钮,并“保存”,最终点击“下载”按钮,下发生效,若下载失败,表示存在部分通道存在冲突的情况,需要修改对应的通道状态,修改完毕,点击“下载”。

(8)总览
按照以上步骤完成配置并下载,最终生成单环四相位的方案,总览界面如下:

4.16.5 十字路口-双环八相位
具体配置如下:
(1)相位
选择具体的车道方向和行人方向。

(2)跟随相位
添加跟随相位(行人方向、车道方向)以及对应的母相位。

(3)方案
添加一个方案,可修改各相位的绿信比。

(4)计划
添加一个计划,确定开始时间和控制方式。

(5)日期
添加日期,确定执行计划的日期。

(6)通道
根据路口渠化,添加对应的通道,主要配置以下参数:控制类型/源、类型、方向、灯组方位、灯组方向。

(7)检测器
针对各条车道,添加对应的检测器,主要配置以下参数:类型、请求相位和饱和流量。(需要根据现场渠化进行对应的配置,如无需要可不配置)

(8)手动面板
点击“生成默认设置”按钮,并“保存”,最终点击“下载”按钮,下发生效,若下载失败,表示存在部分通道存在冲突的情况,需要修改对应的通道状态,修改完毕,点击“下载”。

(9)总览
按照以上步骤完成配置并下载,最终生成单环四相位的方案,总览界面如下:
