3. 路口管理
3.1 功能介绍
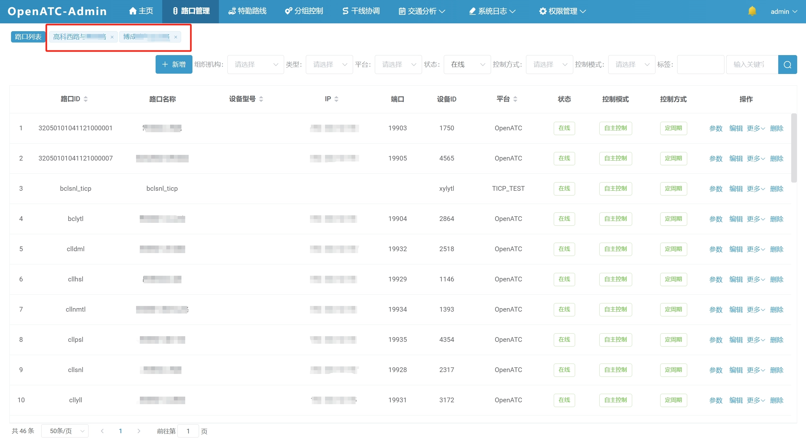
点击菜单栏“路口管理”,进入路口管理界面,tab栏可以打开多个设备,当前界面展示了路口ID、路口名称、IP、端口等信息,可以进行设备的添加、修改、删除、搜索、故障信息查看以及状态监视、控制等功能。路口管理是OpenATC的核心功能模块。可根据各路口所属的类型、平台、状态、控制方式和控制模式等进行筛选查看。


(1) 点击“操作-更多-故障信息”,弹出故障信息对话框,显示故障发生的时间、板卡类型、故障主类型、故障子类型、故障值和故障等级等故障信息。

点击“忽略”,提示操作成功,故障弹出框里对应的故障信息对应的确认结果为“已忽略”;点击“确认”,提示操作成功,故障弹出框里对应的故障信息对应的确认结果为“已确认”。
(2) 点击“操作-更多-历史方案统计”,选择具体时间,点击“查询”按钮,可查看方案信息(控制模式、控制方式、控制方案、周期、相位差、同步时间和协调时间)对应的趋势图,并展示历史当前相位,方案实时数据(控制模式、控制方式、控制方案、周期、相位差、同步时间、协调时间和当前相位)。点击“导出”按钮,可将数据以.xlsx格式导出。

(3) 点击“操作-更多-历史路口数据统计”,选择具体时间,点击“查询”按钮,可查看流量统计(流量统计、饱和度统计)和指数统计对应的趋势图。

(4) 点击“操作-更多-历史相位数据统计”,选择具体相位和时间,点击“查询”按钮,可查看流量统计(流量统计、饱和度统计)和指数统计对应的趋势图。

(5) 点击“操作-更多-历史检测器数据统计”,选择具体时间,点击“查询”按钮,可查看交通流量统计(流量统计、占有率统计)、检测器流量热力图和检测器流量。

3.2 路口信息
3.2.1 新增路口
在路口管理主页面点击“新增”按钮,弹出新增路口对话框。需要填写路口ID、路口名称、设备ID、设备类型(信号机/第三方设备/虚拟信号机)、协议(平台/设备/级联)、认证类型(默认/V1/V2/V3)、通讯类型(UDP/TCP)、IP(当前运行的本机IP)、端口(端口号为设备配的端口号,若设备修改则对应的端口号也需更改)。其中,路口名称为设备所在路口的描述,设备类型默认选择“信号机”,协议默认选择“设备”,认证类型默认选择“默认”,通讯类型默认选择“UDP”,填写完设备各参数后,点击“确定”,列表中会新增一条路口信息。

3.2.2 编辑路口
在路口管理主页面点击“编辑”按钮,弹出编辑路口对话框。填写完成路口各参数后,点击确认,列表中的数据变更为更改后的信息。

3.2.3 删除路口
在路口管理主页面点击“删除”按钮,弹出“提示”对话框,显示“是否确认删除此路口”,点击“确定”,列表中对应路口则被删除。

3.2.4 搜索路口
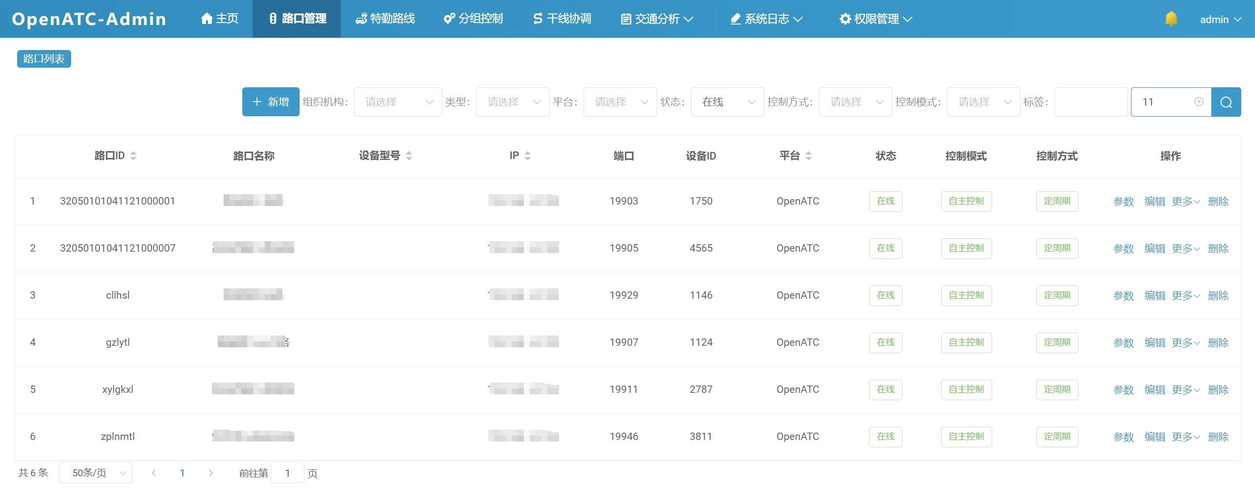
在路口管理主页面右上角的搜索框内,输入路口ID/路口名称/IP字段等关键字均可进行模糊查询。

3.2.5 路口详情
点击“操作-参数”,跳转至设备参数详情界面,该界面显示了当前路口实时信号分布状态,右侧工具栏主要显示该设备所在路口名称、路口ID、信号机IP、平台类型、阶段倒计时、阶段时长和故障信息,并显示当前设备的控制方式和当前阶段,可勾选查看方案状态部分右上角的“跟随相位”。

控制方式可以选择手动控制,以及具体参数配置等内容可查看配置软件用户手册。
详情界面共五种模式,包括:特勤模式、流量统计、渠化模式、模板模式和文字模式。
模板模式为上图3-12所示,展示的是标准路口的渠化,其中各进口道的车道数均为固定数量,无法更改,若需查看实际路口的渠化信息,需点击左侧菜单栏中的“渠化”,进行渠化配置。
(1)导入图片
首先导入格式为svg、png、jpg格式的实际路口图片,图片大小不能超过10MB。

选择对应的本地图片文件即可。

图片添加成功后,可进入渠化信息配置界面,界面左上角可选择重新导入图片。
(2)添加机动车道
根据实际路口情况,添加各进口方向的机动车道。选择上方的“机动车道”选项,在具体车道上左键点击即可完成添加,需要选择该车道的车道转向、方位、车道类型和关联相位,可修改坐标和旋转角度等基础信息,以及拖动机动车道图标。同时可以查看该机动车道的标号和全息车道ID,可以选择“删除”或“克隆”,将该车道配置删除或复制。
车道转向:直行、左转、右转和掉头,转向可多选。
方位:东向、西向、南向、北向、东北、东南、西南和西北,只可单选。
车道类型:机动车主路、机动车支路、非机动车道、公交车道、BRT车道和有轨电车,可选择翻转显示。

(3)添加人行横道
根据实际路口情况,添加各方向的人行横道。选择上方的“人行横道”选项,在具体位置左键点击即可完成添加,需要选择该人行横道的行人类型和方位,可修改坐标和旋转角度等基础信息,以及拖动人行横道图标。同时可以查看该人行横道的标号,可以选择“删除”或“克隆”,将该人行横道配置复制。
行人类型:行人过街、二次过街、斜向行人和路段行人。
方位:
1)行人过街下的方位,包括:东向、西向、南向和北向。
2)二次过街下的方位,包括:东向-上、东向-下、西向-上、西向-下、南向-左、南向-右、北向-左和北向-右。
3)斜向行人下的方位,包括:X-/和X-\。
4)路段行人下的方位,包括:南北向和东西向。

(4)添加倒计时
选择上方的“倒计时”选项,在具体位置左键点击即可完成添加,可拖动倒计时图标。可选择删除该倒计时。

(5)添加检测器
根据实际路口情况,添加各车道上的检测器。选择上方的“检测器”选项,在具体位置左键点击即可完成添加,需要选择该检测器的类型、阈值和关联的车道,可修改坐标和旋转角度等基础信息,以及拖动检测器图标。同时可以查看该人行横道的标号,可以选择“删除”或“克隆”,将该检测器配置复制。
检测器阈值:绿灯利用率阈值和流量饱和率阈值范围。
车道关联:关联上文添加的机动车道ID标号。

配置完毕后,可点击下方的“保存”按钮。可选择“重置”,重新进行配置。
点击“从文件导入”按钮,选择本地的json格式配置文件,可直接导入相关配置。点击“从文件导出”按钮,可导出json格式配置文件至本地,之后可直接导入至其他路口的渠化配置。
点击总览界面右上角的替换按钮
,可直接替换为路口实际渠化界面,该界面可查看渠化配置信息,包括机动车道、人行横道、倒计时和检测器等,如下图所示:

点击总览界面右上角的替换按钮
,可查看该路口的流量统计,包括:总流量、平均流量、平均绿灯利用率、平均流量饱和度、各相位对应的流量、绿灯利用率、饱和度和拥堵指数等信息,如下图所示:

点击总览右上角的替换按钮
,可直接替换为以文字为主的简约风格界面,如下图所示:

点击总览右上角的替换按钮
,可直接替换为特勤模式,该界面可查看路口当前的通道实时状态,以及相关配置参数,包括:绿闪(s)、黄灯(s)、最小绿(s)、全红(s)、持续时间(s),并可点击路口渠化图中的方向箭头锁定特勤方向,如下图所示:
