8. 系统日志
8.1 操作记录
点击菜单栏“系统日志-操作记录”,进入相应界面,操作记录中记录所有用户对路口的操作情况,包括最近操作时间、操作的消息类型、以及信号机的应答等。

可根据筛选条件(源地址、消息类型、返回类型、路口名称、用户名和操作时间)进行查询。
8.1.1 查看操作记录
点击操作中的查看,即可查看相应代码,主要是ID和操作时间等。

8.1.2 分页功能
分页功能能够设置每页显示记录的数量,同时能够输入页码直接跳转到指定页。

8.2 故障记录
点击菜单栏“系统日志-故障记录”,进入相应界面,操作记录中可查看实时故障和历史故障。
8.2.1 实时故障
(1) 总览
可以查看实时故障,界面信息包括:路口名称、ID、故障类别、发生时间、恢复时间、主类型、子类型、等级、详细值、确认者、确认结果(已忽略/已确认/未处理)等信息。

(2) 分页功能
分页功能能够设置每页显示记录的数量,同时能够输入页码直接跳转到指定页。

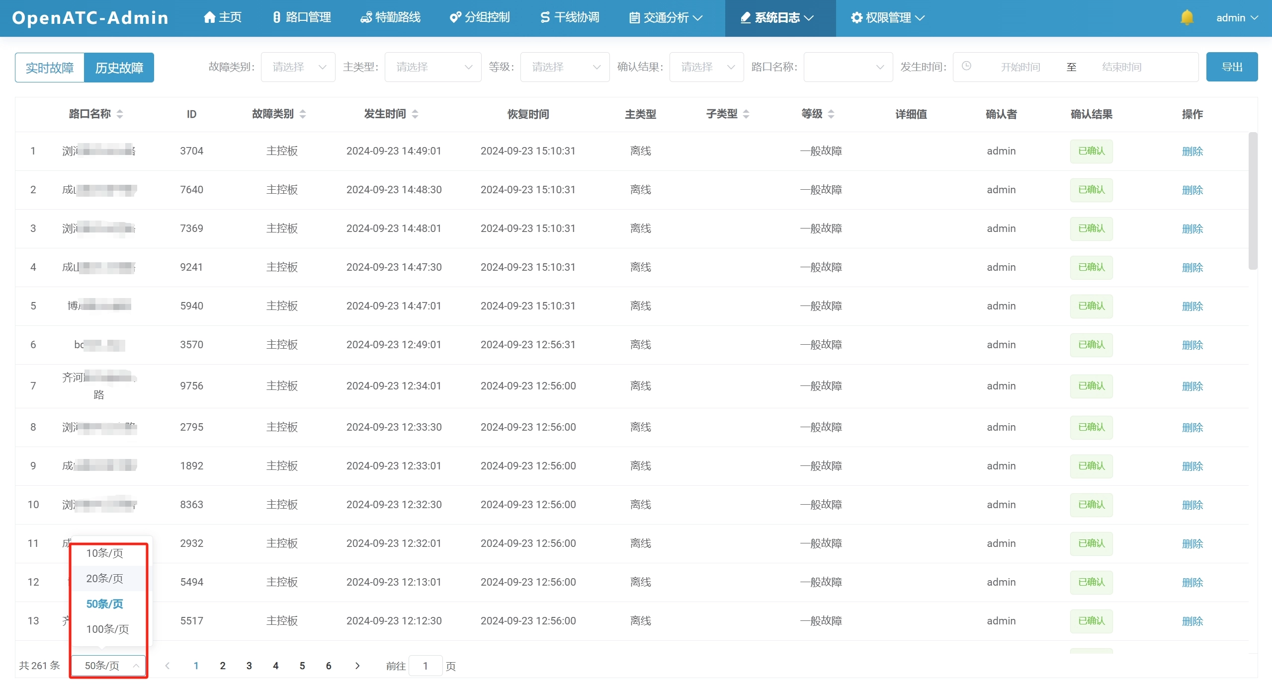
8.2.2 历史故障
(1) 总览
可以查看历史故障,界面信息包括:路口名称、ID、故障类别、发生时间、恢复时间、主类型、子类型、等级、详细值、确认者、确认结果(已忽略/已确认/未处理)等信息。

(2) 分页功能
分页功能能够设置每页显示记录的数量,同时能够输入页码直接跳转到指定页。

(3) 搜索故障
选择故障类别、主类型、等级、确认结果(未处理/已确认/已忽略)、路口名称和故障发生时间,可搜索具体的历史故障,查看故障详情信息。
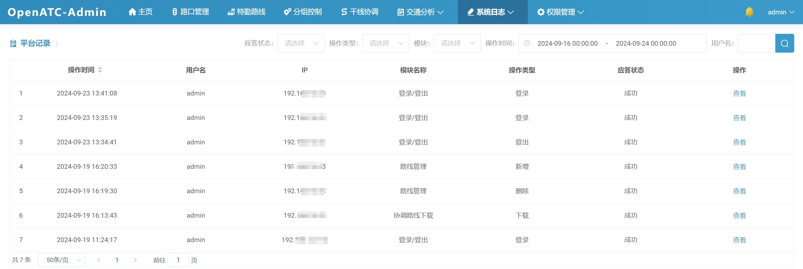
8.3 平台记录
点击菜单栏“系统日志-平台记录”,进入相应界面,可以查看平台的应答记录。

8.3.1 搜索平台记录
在平台记录主页面中,可根据筛选条件(应答状态、操作类型、模块、用户名和操作时间)进行查询。
